При выборе клетки для кроликов необходимо учитывать возраст, породу, пол и назначение вольера. Правильные размеры клетки обеспечивают комфорт, безопасность и способствуют здоровью питомца. В статье рассмотрим оптимальные размеры клеток для различных видов кроликов, что поможет владельцам создать подходящие условия и избежать распространенных ошибок в содержании.
Этапы создания клетки для кроликов
Создание двухсекционного крольчатника включает в себя несколько ключевых этапов:
- Конструкция каркаса.
- Обшивка стен фанерными панелями.
- Укладка пола.
- Установка перегородок между секциями.
- Монтаж дверей и маточника.
- Установка яслей.
Заключительный шаг – размещение кормушек и поилок, а также укладка веток на пол для комфорта животных.
Эксперты в области животноводства подчеркивают важность правильного выбора размеров клеток для кроликов, так как это напрямую влияет на их здоровье и благополучие. Оптимальные размеры клетки должны обеспечивать достаточное пространство для движения, отдыха и естественного поведения животных. Специалисты рекомендуют, чтобы для одного кролика минимальные размеры клетки составляли не менее 1,5 квадратных метров, а для пары — от 2,5 до 3 квадратных метров. Важно также учитывать высоту клетки, чтобы кролики могли свободно вставать на задние лапы. Кроме того, эксперты советуют обеспечить клетки хорошей вентиляцией и защиту от прямых солнечных лучей, что способствует созданию комфортной среды для животных. Правильные размеры клеток способствуют снижению стресса и повышению качества жизни кроликов.

Каркас клетки
Для домашнего изготовления каркаса часто используется цельный деревянный брус, который сверху обшивается деревом, ориентированно-стружечной плитой или шифером.
Сборка каркаса производится по заранее подготовленной схеме, предварительно брус рекомендуется обработать антисептиком. Для закрепления брусов используются саморезы разных размеров (от 25 до 75 мм).
Сверху каркас после сборки возможно окрасить специальной грунтовой краской. Если клетка располагается на улице круглый год, ее рекомендуется устанавливать на деревянные брусья-ножки. Оптимальная длина ножек каркаса варьируется от 80 до 100 см. Для питомника, размещаемого внутри помещения, достаточно будет ножек длиной 30-40 см.
| Параметр | Рекомендуемые размеры (ДxШxВ) | Примечания |
|---|---|---|
| Одиночный кролик (мелкие породы) | 60x45x45 см | Минимальный размер, желательно больше для комфорта. |
| Одиночный кролик (средние породы) | 90x60x60 см | Позволяет кролику вытянуться и сделать несколько прыжков. |
| Одиночный кролик (крупные породы) | 120x90x75 см | Обеспечивает достаточно места для движения и отдыха. |
| Пара кроликов (мелкие породы) | 90x60x60 см | Увеличьте площадь на 50% по сравнению с одиночным кроликом. |
| Пара кроликов (средние породы) | 120x90x75 см | Важно обеспечить достаточно места для каждого кролика. |
| Пара кроликов (крупные породы) | 150x120x90 см | Чем больше, тем лучше для предотвращения конфликтов. |
| Крольчиха с потомством (до отъема) | 120x90x75 см | Дополнительное пространство для гнезда и растущих крольчат. |
| Высота клетки | Не менее 45 см | Кролик должен иметь возможность встать на задние лапы, не касаясь потолка. |
| Площадь пола на кролика | Не менее 0.5 кв. м | Общая рекомендация, но чем больше, тем лучше для благополучия. |
| Материал пола | Сплошной, не сетчатый | Предотвращает пододерматит (воспаление лап). |
| Доступ к выгулу | Ежедневный | Клетка не заменяет свободный выгул вне клетки. |
Интересные факты
Вот несколько интересных фактов о оптимальных размерах клеток для кроликов:
-
Минимальные размеры: Для одного среднего кролика рекомендуется клетка размером не менее 1,5 квадратных метров. Это позволяет животному свободно двигаться, растягиваться и проявлять естественное поведение. Если у вас несколько кроликов, клетка должна быть еще больше, чтобы избежать конфликтов и обеспечить комфорт.
-
Высота клетки: Высота клетки также важна. Кролики любят прыгать и исследовать вертикальное пространство. Оптимальная высота клетки должна составлять не менее 60 см, чтобы кролик мог свободно прыгать и не чувствовал себя ограниченным.
-
Зонирование пространства: Важно не только размер клетки, но и ее зонирование. Кролики нуждаются в разных зонах для отдыха, игр и туалета. Создание отдельных пространств внутри клетки с помощью перегородок или различных аксессуаров помогает удовлетворить их потребности и улучшить качество жизни.
Эти факты подчеркивают важность создания комфортной и безопасной среды для кроликов, что способствует их здоровью и благополучию.
Монтаж крыши
В зависимости от типа конструкции для создания и установки крыши применяются разнообразные кровельные материалы. Чаще всего крыши для крольчатников изготавливаются из листов шифера.
Установка шиферных листов требует соблюдения определенного угла наклона.
Поскольку каркас обычно изготавливается из деревянных брусьев, важно, чтобы края крыши не выступали за пределы каркаса более чем на 5 см. Это обеспечит надежную защиту каркаса клетки от дождя и гниения.
Листы шифера соединяются между собой с помощью гвоздей с широкими шляпками или саморезов. В некоторых конструкциях внутренних клеток предусмотрено использование крыши в виде простой оцинкованной сетки.
Устройство маточника
Маточник представляет собой специальное сооружение для крольчихи, необходимое для обеспечения максимального приплода. Это особая конструкция, разделяющая общее гнездо от среды, где будут находиться крольчата.
Маточник для кроликов
Для изготовления маточника своими руками используют фанерные листы, доски, рейки, петли и утепляющий материал, в качестве которого чаще всего выступают обычные опилки.
Процесс установки маточника не потребует много сил и умений. Сам каркас изготавливают по готовой схеме, используют рейки для окантовки, сколачивают заготовку, утепляют и набивают сверху слой фанеры
Важно следить, чтобы при изготовлении не было зазоров. Готовые стены каркаса скрепляют саморезами
Устройство кормушки
Кормушки для ваших пушистых друзей можно приобрести готовыми или создать самостоятельно. Чертежи можно найти в сети или разработать по своему усмотрению.
Существует множество типов кормушек, которые различаются по материалам, формам и конструкциям:
- керамические миски,
- ясельные кормушки,
- желоба,
- бункеры,
- кормушки в форме чашек.
Для самостоятельного изготовления кормушки можно использовать такие материалы, как жесть, дерево, металлопрофиль, пластик, шифер и оргстекло. Выбор конкретного материала зависит от типа клетки и ее расположения (внутри помещения или на улице).
Кормушку можно сделать и из подручных средств, например, из консервной банки. Устанавливать ее следует внутри гнезда.
При создании кормушки своими руками важно убедиться, что у нее нет острых углов, краев и зазубрин.
Где разместить клетки
Выбирая место разведения домашних кроликов и размещения их клетки, важно избегать ветра и сквозняка. Но совсем неважно будет ли клетка на улице или в помещении
Но совсем неважно будет ли клетка на улице или в помещении. Кроме погодных условий, учитывается количество и размеры клетки для кроликов
Кроме погодных условий, учитывается количество и размеры клетки для кроликов.
При нормальном разведении одной клетки будет недостаточно. Потребуется помещение для беременных крольчих, их детенышей и самцов, а это целый жилой комплекс.
Габариты — размеры готовых кроличьих клеток во многом зависят от породы питомцев, но есть минимальные значения, расчет которых производится на основании данных, приведенных в таблице.
|
Технологические элементы кроликофермы |
Максимальное количество голов кроликов на единицу площади |
Норма площади на 1 голову кролика, кв.м. |
Размеры, м |
|
| Длина | Ширина | |||
|
Для кроликов основного стада |
||||
| Клетка кроличья двухсекционная
-гнездовое отделение |
1 — |
0,5-0,65 0,18 |
0,6-0,7 0,5 |
0,9 0,36 |
|
Клетки групповые для содержания кроликов в сараях (шедах) |
||||
| Для молодняка | 6 | 0,1 | 0,9 | 0,672 |
| Для ремонтного молодняка:
самок самцов |
4 1 |
0,15 0,605 |
0,9 0,9 |
0,672 0,672 |
|
Клетки индивидуальные для содержания кроликов в сараях (шедах) |
||||
| Для молодняка | 1 | 0,13-0,16 | 0,29-0,36 | 0,45 |
| Для ремонтного молодняка | 1-2 | 0,22-0,32 | 0,48-0,72 | 0,45 |
Высоту клеток как для домашних кроликов, так и для кроликов, содержащихся на промышленных кроликофермах принимают в размере не менее 45 сантиметров.
Размер кроличьего гнезда-ящика: длина – 50 см., ширина – 36 см., высота 30-4- см.
При изготовлении клеток для содержания кроликов используют оцинкованную металлическую сетку, размер ячеек которой 24х24-50 мм, полы – 16х48 мм.
Фермеры могут позаботиться не только о жилище подопечных, но и о месте для прогулок.
Фото деревянных клеток для выращивания кроликов
Домики для кроликов
Кролики, хотя и обладают хорошей устойчивостью к различным заболеваниям, а также не требуют особых условий в питании и содержании, все же нуждаются в правильно организованном жилище. При создании такого жилья важно учитывать количество животных, их пол и возраст.
Приобретение готовых домиков из зарубежных материалов может оказаться невыгодным и потребовать значительных затрат. Поэтому многие владельцы предпочитают строить клетки самостоятельно, что является более экономичным решением. В этом случае возникает вопрос о том, как изготовить клетку для кроликов из сетки. Создание комфортного жилища для этих животных не требует специальных навыков — достаточно следовать рекомендациям и правильно выполнять расчеты.
Двухъярусные клетки
Конструкцию двухъярусной клетки впервые воплотил И.Н. Михайлов. Она представляет собой подставку-раму, верхний и нижний ярус. Если сооружение располагается на улице, то делается крыша из прозрачных или полупрозрачных материалов. Благодаря подобной мини-ферме, разведением кроликов может заниматься даже тот, кто желает уделять этому занятию только выходные. Кормушки в клетке устроены так, что комбикорма, сена и корнеплодов, засыпанных в них, хватает животному на целую неделю, то же самое касается и воды.
Если говорить о чистке клетки, то и здесь всё максимально удобно для кролиководов. Воронкообразные шахты обеспечивают вывод отходов жизнедеятельности в специальный герметичный контейнер, не оставляя запахов. Так что частая уборка требоваться также не будет.
В таком сооружении может содержаться до 25 кроликов. Внизу — самка с окролом, наверху — подросшее потомство. При этом клетки не занимают большое количество места. Площадь мини-шеда из восьми клеток может составлять около 25 м2, учитывая проход в 110 см и промежуток между клетками 70 см.
Изготовление клеток из сетки
Это довольно простые и недорогие конструкции, все компоненты выполнены из металлической сетки. Клетки легко перемещать: зимой в помещение, а летом на свежий воздух. Их можно устанавливать прямо на землю, что значительно упрощает уход за питомцами.
Бескаркасная клетка — идеальный выбор для кроликов в летний период
Для работы понадобятся кусачки или болгарка для резки сетки. Это один из немногих случаев, когда мы рекомендуем использовать болгарку для резки оцинкованной сетки. Почему? С помощью этого инструмента можно аккуратно удалить мелкие кусочки проволоки, а в некоторых местах срез должен быть абсолютно гладким. В противном случае кролики могут получить травмы, что крайне нежелательно. Также потребуются обычные пассатижи и клипсатор для обжима металлических скоб. Если клипсатора нет, можно обойтись только пассатижами, но это усложнит процесс сборки и ухудшит внешний вид конструкции.
Что такое клипсатор
Шаг 1. Изготовьте дно. Для этого элемента лучше использовать сетку с размером ячеек 16×48 мм, так как такие параметры обеспечивают хорошее проваливание навоза, и пол всегда остается чистым и сухим. Кролиководы знают, что кролики могут заболеть и терять вес на мокром полу. В нашем случае длина клеток составляет два метра, ширина — 90 см, в одном ряду размещается четыре клетки по 50 см каждая. Вырежьте сетку нужного размера, количество деталей зависит от числа секций.
Вырезаем заготовку для дна из сетки
Шаг 2. Изготовьте заготовки для боковин и верха. Для этих частей рекомендуется использовать сетку с размером ячеек 25×25 мм и толщиной проволоки 2,0 мм. Почему такая толщина? Потому что вертикальные элементы должны быть достаточно прочными, так как они являются несущими. Как уже упоминалось, эта конструкция не требует дополнительного каркаса из дерева или металлопроката.
Изготавливаем заготовки меньшего размера для боковин
Длина передней панели равна длине дна, высота составляет примерно 42 см. Точные размеры могут варьироваться в зависимости от размеров ячейки — нужно выбирать такие, чтобы срез проходил рядом с разделительной проволокой. Для повышения жесткости конструкции на передней детали в верхней части рекомендуется сделать загиб. По аналогичному принципу выполните разметку боковой и задней деталей. Отрежьте их по меткам и сделайте подгиб для ребер жесткости.
Шаг 3. Уложите дно на ровную поверхность и соедините его с задней и боковыми деталями. На нужном расстоянии установите и зафиксируйте перегородки. Работать следует с клипсатором, при необходимости скобы можно поджать плоскогубцами. Соединения можно делать через две ячейки, шаг не влияет на прочность конструкции, так как распирающие усилия минимальны. Для усиления по всем ребрам можно использовать оцинкованную проволоку диаметром 3–4 мм.
Соединяем части клетки с помощью клипсатора
Шаг 4. Приступите к изготовлению дверок. Есть два варианта: одна дверка на каждую клетку или сразу на три. Второй вариант проще в изготовлении, но немного усложняет уход за кроликами. Пока вы работаете с одной клеткой, остальные могут остаться без присмотра. Дверки изготавливаются в следующем порядке:
- Отрезается сетка по размерам, передняя часть немного загибается так, чтобы она заходила на вертикальную стенку.
- Сзади сетка фиксируется проволокой к стенке, но не слишком сильно, чтобы она могла свободно поворачиваться.
Для дверки край сетки подгибается
В закрытом состоянии дверки следует фиксировать карабинами или пружинами. Если есть желание, можно сделать простые самодельные крючки.
Распространённые конструкции и их особенности
Специалистами-животноводами и кролиководами-любителями разработано множество моделей клеток для содержания кроликов. Наиболее распространёнными конструкциями крольчатников являются:
- односекционная клетка;
- конструкция с двумя секциями;
- крольчатник с маточником;
- трёхсекционная (семейного типа);
- цельнопроволочная;
- мини-ферма Михайлова;
- клетки Золотухина.
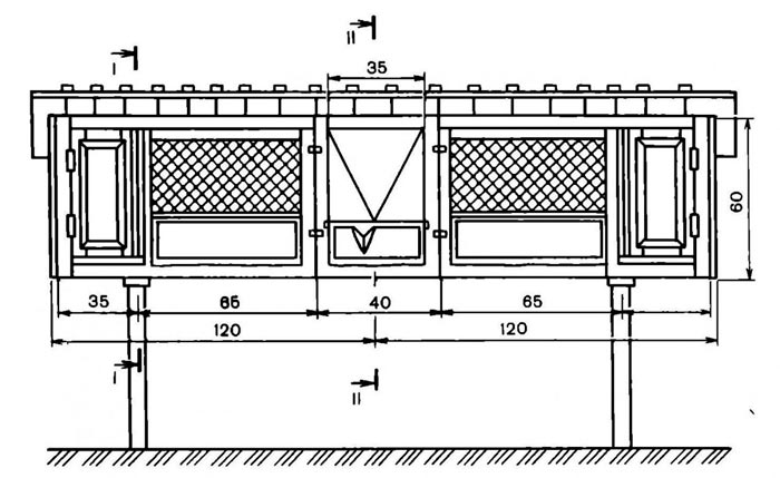
Наиболее удачной и простой конструкцией, доступной для повторения своими руками, можно считать двухсекционную.
Двухсекционные клетки очень удобны для содержания кроликов
Для экономии места клетки устанавливают в несколько ярусов, образуя так называемый шед. Такая конструкция позволяет сэкономить материал и облегчает уход за животными. Именно эта система используется в конструкциях крольчатников известных кролиководов Михайлова и Золотухина.
Двухместную клетку с маточником (кормовым отделением) используют для отсаживания крольчихи во время окрола. В виде маточника применяют гнездовье съёмного типа — в нём новорождённых крольчат содержат, пока они не достигнут месячного возраста. Между кормовым отделением и основной частью клетки устраивают лаз размером 20×20 см.
На время окрола самку помещают в маточник. Часто его делают в обычной клетке, обустраивая закрытое отделение с лазом
Цельнопроволочные крольчатники удобны в условиях массового разведения или на фермах. Наряду с преимуществами простоты и удобства ухода такие клетки имеют и существенный недостаток — для их установки требуется отдельное помещение.
В клетку семейного типа можно поместить двух самок с молодняком или двух разнополых особей. Отсеки между отделениями выполняют из сетки, реечной или сплошной деревянной перегородки.
Односекционные клетки хоть и являются наиболее простыми в изготовлении, практически не используются на частных подворьях ввиду невысокой гигиеничности и эстетичности сооружений.
Перед тем как приступить к строительству крольчатника, подготавливают инструменты и материалы, которые понадобятся в работе, а также делают необходимые замеры и составляют чертежи будущего сооружения.
Немного о металлической сетке
Металлическая сетка – это универсальный материал, который изготавливается из проволоки и находит широкое применение в различных областях. Она используется для армирования строительных конструкций, создания заборов, а также для изготовления клеток для животных. Это идеальный выбор для создания удобных и долговечных конструкций для содержания кроликов, нутрий, кур, перепелов и других животных. В зависимости от технологии производства, сетки делятся на:
- сварные (рулонные);
- плетеные (рабица);
- шарнирные;
- канилированные (рифленые);
- тканые.
Металлическая сетка – это незаменимый материал, который активно используется в самых разных сферах.
Шарнирная сетка и рабица чаще всего применяются в строительстве, а также при создании заборов и ограждений. В то же время сварная сетка получила широкое распространение в животноводстве и считается одним из лучших материалов для изготовления клеток.
Необходимые материалы и инструменты
При строительстве клеток разрешено пользоваться большим количеством материалов. Но для этих целей лучше подходит натуральная древесина. Для продления ее срока годности и одновременной защиты от вредных микроорганизмов рекомендуется заранее обработать поверхность антисептическим составом.
Перед началом создания клеток нужно закупить такие материалы:
- набор деревянных реек шириной 3-4 сантиметра;
- деревянные доски и брус;
- фанера;
- мелкоячеистая сетка из металла;
- обычная металлическая или вязальная проволока;
- пластиковые поддоны, размер которых соответствует величине клеток.
Некоторые мастера предпочитают использовать ДСП, а не фанеру. Не рекомендуется это делать, потому что лист быстро впитывает влагу, начинает гнить, а затем крошиться. Внутри листа быстро размножаются микробы, поэтому кролики начнут болеть.
Вне зависимости от типа конструкции, будь то клетка для декоративного кролика или изделие для разведения обычных хозяйственных пород, для сборки надо заранее обзавестись:
- ножовкой, а лучше – электрическим лобзиком;
- саморезами и шуруповертом;
- рулеткой;
- мелкими гвоздями и молотком;
- строительным степлером;
- клещами или металлическими бокорезами для сетки;
- листогибом;
- медной или алюминиевой проволокой. Стальная не подойдет, так как она быстро покрывается ржавчиной и ломается.
Мини-фермы по И. Н. Михайлову
Согласно технологии, разработанной И. Н. Михайловым, можно самостоятельно создать крольчатник. Основой этой конструкции является содержание окрола с кормилицей, однако со временем стало очевидно, что такая модель универсальна. Клетка оборудована системой вентиляции и электроподогревом для секций с матками, автономной системой утилизации отходов и множеством лазов, которые соединяют клетки и полки, позволяя молодым кроликам безопасно учиться прыгать и исследовать пространство.
Сложность содержания животных оправдана эффективным подходом профессора И. Н. Михайлова, который акцентирует внимание на соответствии условий жизни кроликов их физиологическим потребностям и поведенческим особенностям.
Изготовление
Наилучшей является модель, основанная на стандартном чертеже:
- Корпус: 4 клетки (высота от 70 см), отсеки для корма и воды.
- Продолжение корпусного короба: конусовидная половинчатая воронка, соединяющая все клетки, с узкой частью, направленной в ведро (угол – 45 градусов, высота до 100 см).
- Опоры должны поднимать клетки над землей на 130-150 см. Край воронки должен находиться на расстоянии 30-50 см от земли.
Для создания каркаса основного корпуса используйте брусья, соединяя их между собой саморезами под прямым углом (примерные размеры: 250 см в длину, 50 см в ширину, 70 см в высоту).
Для ножных опор также примените брусья необходимой длины в количестве 4 штук. Затем соедините их саморезами с основным каркасом с помощью угловых элементов (либо готовых, либо выпиленных самостоятельно).
Из брусьев сформируйте четырехугольную пирамиду-воронку с широким основанием, соответствующим длине корпусной основы.
Нанесите разметку на оцинкованный лист для сливной емкости и мест сгиба. Оберните пирамидальный каркас и зафиксируйте его шурупами или гвоздями на передних опорах.
Спереди воронка должна оставаться открытой, как уже упоминалось, оцинкованный лист закрывает заднюю часть мини-фермы. Углы и места стыков следует обработать герметичным раствором.
Из фанеры подготовьте перегородки, заднюю стенку и потолочное покрытие, к которому сразу прикрепите шифер.
При необходимости можно выпилить отверстия в поперечных стенках для соединения клеток. В этом случае отлет для пищи может быть единственным.
Для клеток изготавливаются дверцы из брусьев (или реек) и оцинкованной сетки. После этого их монтируют к основной конструкции. Такие дверцы могут быть шириной одной клетки и заменять обтягивание всего корпуса сеткой с отдельным монтажом дверных проемов.
С одной или обеих сторон корпуса создаются кормовые отлеты. Они состоят из обрезной доски (длина которой не превышает уровня крыши) и брусьев, прикрепляемых с двух сторон, образуя воронку. С помощью углового спила трех элементов крепят отлет так, чтобы засыпаемый в него корм попадал в миску.
Клетки оснащаются поилками. Отлеты для пополнения запасов пищи нужно оборудовать крышками и отдельными навесами, чтобы предотвратить привлечение насекомых или птиц, которые могут растаскивать еду. Кроме того, для зимнего периода следует дополнить поилки подогревом.
Создание клетки с маточником для кроликов своими руками требует значительных усилий и времени, так как эта модель считается одной из самых сложных. Тем не менее, она является надежной и комфортной для решения такой непростой задачи, как содержание окрола.
Клетки для самок с детенышами
В естественных условиях самки приносят на свет детенышей в теплых и сухих норах. Поэтому основная задача человека, содержащего кроликов — обеспечить им условия, близкие к натуральным. Это станет залогом благополучного окота.
Для этого для беременной самки обустраивают маточный ящик. Небольшое по размеру помещение дает крольчихе ощущение безопасности и комфорта
В маточнике должно быть сухо, тепло, уютно, это важно для новорожденных крольчат, ведь они появляются на свет совсем без шерсти. Маточники нужны не только зимой, но и в теплый период года
Здесь речь идет не о тепле, а о чувстве защищенности для самки. Она должна иметь возможность гнездиться.
Клетка для самки делится на две части: маточник (отделение поменьше) и зону для прогулок. Очень хорошо, когда удается оборудовать чердачное помещение в маточнике. Туда необходимо сделать лаз, чтобы самка могла отдыхать от детенышей.
Подробная инструкция по изготовлению клеток для откорма
Сначала следует создать каркас для будущей конструкции. Для этого необходимо нарезать бруски нужной длины и соединить их между собой по периметру с помощью саморезов. Затем устанавливаются вертикальные опоры, которые фиксируются к основанию под прямым углом. Дверца располагается на передней части домика, для чего потребуется изготовить раму из бруса соответствующего размера.
Важно помнить, что клетки обычно располагают на высоте от 50 до 80 см над землёй для удобства. Следующий этап – нарезка сетки на необходимые фрагменты в соответствии с чертежом. Готовые прямоугольники прикрепляются к деревянному каркасу с помощью заклёпок.
После завершения обшивки устанавливаются петли, на которые фиксируется дверца. В нижней части клетки под сетчатым полом размещается поддон, который вырезается из жести или оцинкованного листа. Наружные края поддона загибаются внутрь.
Пол не обязательно делать сетчатым. Многие фермеры предпочитают использовать деревянный пол. Для этого на каркас укладываются узкие рейки с промежутками между ними в 1–1,5 см. Такой пол обеспечивает комфорт питомцам, предотвращая травмы лапок, а испражнения легко попадают в поддон через щели.
Если клетки для молодняка будут находиться на улице, потребуется крыша, которую делают с наклоном. Шифер является подходящим кровельным материалом.
Внутри готовой конструкции устанавливается кормушка, которая крепится к одной из стенок домика, чтобы избежать её опрокидывания. Клетка также оборудуется яслями для сена и поилкой подходящего объёма. Удобно использовать ниппельную поилку, так как в ней вода остаётся всегда чистой. Ёмкость крепится с наружной стороны домика, а сосок заводится внутрь.
Создать клетки для откорма кроликов не так сложно. Главное – определиться с размерами, учитывая количество питомцев, а затем нарисовать чертёж.
Изготовление обычной клетки
Чтобы построить простую клетку для кроликов следует воспользоваться чертежным планом и детальной инструкцией. Можно воспользоваться представленной схемой.
Этапы строительства в домашних условиях:
- Из четырех брусьев изготавливается прямоугольный каркас. Его размеры будут соответствовать величине будущего домика.
- Из четырех брусьев делают ножки, на которые ставят каркас. Длина двух брусков равна высоте лицевой стены +30 см, прочих — высоте задней стены +30 см. Таким образом, скелет лицевой стены создает высокие брусья, задней — брусья короче на 10–15 см. Их присоединяют к основанию так, чтобы оно приподнялось на 30 см.
- К низу скелета постройки прикрепляют сеточку так, чтобы она закрыла центральную часть строения. С каждого края оставляют участок для гнезд, пол в которых закрывают фанерой, чтобы края чуть-чуть захватывали сеточку.
- Затем дополняют каркас строения фанерными стенами по бокам и сзади. После между передних брусков закрепляют один длинный брус для закрепления.
- Гнезда изолируют от прочих отсеков рейками. Между рейками и задней частью устанавливают фанерные листы, предварительно проделав дыры для передвижения.
- К каждому получившемуся гнезду прикрепляют крышу и разделяют постройку на две площадки, применяя для этого поперечный брус.
- Кормовой отдел сооружают из фанерных листов, высота которых немного больше клети. Отсек должен иметь форму буквы V и сужаться к низу.
- К постройке прикрепляют крышу так, чтобы она выступала за края сооружения. В центре, где кролики будут кормиться, ставят выдвигающуюся дверку.
- К лицевой стене крепят самодельные дверки из сеточки, натянутой на рейки.
Подведем итоги
Теперь у вас есть представление о различных популярных методах создания клеток для кроликов. Выбор наиболее подходящего варианта будет зависеть от следующих факторов:
- начального бюджета;
- опыта в кролиководстве;
- места проживания;
- количества кроликов и других аспектов.
Например, клетки, построенные по технологии мини-фермы Михайлова, позволяют значительно сократить затраты времени и усилий на уход за питомцами. Однако установить такую конструкцию в сарае бывает довольно сложно, что делает ее использование в регионах с длительными холодными зимами практически невозможным. Кроме того, для оснащения такой клетки потребуются финансовые вложения и определенные строительные навыки. Для новичков в кролиководстве нецелесообразно тратить значительные средства, особенно если они не уверены в своем желании заниматься разведением кроликов на протяжении многих лет.
Клетки Золотухина, в свою очередь, не требуют больших финансовых вложений, но предполагают содержание в них значительного количества кроликов. Поэтому этот вариант может оказаться не самым подходящим для начинающих фермеров, желающих заняться кроличьим бизнесом.
Мы рекомендуем начинать с простых решений, постепенно переходя к более сложным, чтобы накапливать собственный опыт в уходе за животными.
Уход за клетками и их санитария
Уход за клетками для кроликов является важным аспектом их содержания, который напрямую влияет на здоровье и благополучие животных. Правильная санитария клеток помогает предотвратить распространение болезней и создает комфортные условия для жизни кроликов.
Первым шагом в уходе за клетками является регулярная уборка. Рекомендуется проводить ее не реже одного раза в неделю. В процессе уборки необходимо удалить все остатки корма, подстилку и экскременты. Это поможет избежать появления неприятных запахов и предотвратит развитие бактерий и паразитов.
Для уборки клеток можно использовать специальные чистящие средства, однако важно выбирать безопасные для животных составы. Лучше всего использовать натуральные средства, такие как уксус или сода, которые эффективно очищают поверхности и не наносят вреда кроликам.
После удаления загрязнений следует тщательно промыть клетки водой, чтобы удалить остатки чистящих средств. Важно также уделить внимание углам и труднодоступным местам, где могут скапливаться грязь и бактерии.
Кроме регулярной уборки, необходимо следить за состоянием подстилки. Она должна быть сухой и чистой, так как влажная подстилка может стать источником инфекций. Рекомендуется использовать сено, солому или специальные подстилки, которые хорошо впитывают влагу и легко меняются.
Также стоит обратить внимание на вентиляцию клеток. Хорошая циркуляция воздуха помогает предотвратить накопление влаги и неприятных запахов. Если клетки находятся в помещении, необходимо регулярно проветривать его, а если на улице — следить за тем, чтобы в клетках не было сквозняков.
Не забывайте о дезинфекции клеток. Рекомендуется проводить ее не реже одного раза в месяц. Для этого можно использовать растворы на основе хлора или специальные дезинфицирующие средства, предназначенные для животных. После дезинфекции клетки должны хорошо проветриваться, чтобы удалить остатки химических веществ.
В заключение, уход за клетками и их санитария — это неотъемлемая часть содержания кроликов. Регулярная уборка, правильный выбор подстилки, обеспечение вентиляции и дезинфекция помогут создать здоровую и комфортную среду для ваших питомцев.
Вопрос-ответ
Какой размер клетки подойдет для кролика?
Для мелких и средних кроликов, таких как карликовый или голландский кролик, вольер должен быть не менее 60 см в ширину, 60 см в высоту и 91 см в длину. Для более крупных пород, таких как фламандский гигант, вольер должен быть не менее 91 см в ширину, 91 см в высоту и до 300 см в длину.
Какую сетку брать для клеток кроликов?
Какая сетка нужна для клеток кроликов? К выбору сетки для кроликов нужно подходить серьезно. Тут нужна именно сварная оцинкованная сетка. По параметрам есть проверенные временем стандарты: ячейка 12, 7×25, 4 мм или 25, 4×50, 8 мм, а проволока толщиной от 1, 8 до 2, 5 мм.
Какая клетка лучше всего подходит для кролика?
Клетка для любого декоративного кролика должна быть не менее 70 см. На дно, в качестве подстилки, лучше всего подходит древесный наполнитель (прессованные опилки) и сено слоем 3-5 см. Клетку ставят в месте, защищенном от сквозняков и холода. Кормушку рекомендуется ставить тяжелую, лучше всего подходит керамическая.
Советы
СОВЕТ №1
При выборе размеров клетки для кроликов учитывайте их размер и породу. Для маленьких пород, таких как мини-лопы, подойдет клетка размером не менее 60×60 см, в то время как для крупных пород, например, бельгийских гигантов, рекомендуется клетка не менее 120×80 см.
СОВЕТ №2
Обеспечьте кроликам достаточное пространство для движения. Минимальная площадь клетки должна быть в два раза больше, чем площадь, необходимая для лежания. Это позволит вашему питомцу не только отдыхать, но и активно двигаться, что важно для его здоровья.
СОВЕТ №3
Не забывайте о высоте клетки. Кролики любят прыгать и исследовать пространство, поэтому высота клетки должна быть не менее 50 см, чтобы они могли свободно передвигаться и не чувствовали себя ограниченными.
СОВЕТ №4
Регулярно меняйте обстановку в клетке, добавляя новые игрушки и укрытия. Это поможет предотвратить скуку и стресс у кроликов, а также сделает их жизнь более интересной и активной.
Уход за клетками для кроликов является важным аспектом их содержания, который напрямую влияет на здоровье и благополучие животных. Правильная санитария клеток помогает предотвратить распространение болезней и создает комфортные условия для жизни кроликов.
Первым шагом в уходе за клетками является регулярная уборка. Рекомендуется проводить ее не реже одного раза в неделю. В процессе уборки необходимо удалить все остатки корма, подстилку и экскременты. Это поможет избежать появления неприятных запахов и предотвратит развитие бактерий и паразитов.
Для уборки клеток можно использовать специальные чистящие средства, однако важно выбирать безопасные для животных составы. Лучше всего использовать натуральные средства, такие как уксус или сода, которые эффективно очищают поверхности и не наносят вреда кроликам.
После удаления загрязнений следует тщательно промыть клетки водой, чтобы удалить остатки чистящих средств. Важно также уделить внимание углам и труднодоступным местам, где могут скапливаться грязь и бактерии.
Кроме регулярной уборки, необходимо следить за состоянием подстилки. Она должна быть сухой и чистой, так как влажная подстилка может стать источником инфекций. Рекомендуется использовать сено, солому или специальные подстилки, которые хорошо впитывают влагу и легко меняются.
Также стоит обратить внимание на вентиляцию клеток. Хорошая циркуляция воздуха помогает предотвратить накопление влаги и неприятных запахов. Если клетки находятся в помещении, необходимо регулярно проветривать его, а если на улице — следить за тем, чтобы в клетках не было сквозняков.
Не забывайте о дезинфекции клеток. Рекомендуется проводить ее не реже одного раза в месяц. Для этого можно использовать растворы на основе хлора или специальные дезинфицирующие средства, предназначенные для животных. После дезинфекции клетки должны хорошо проветриваться, чтобы удалить остатки химических веществ.
В заключение, уход за клетками и их санитария — это неотъемлемая часть содержания кроликов. Регулярная уборка, правильный выбор подстилки, обеспечение вентиляции и дезинфекция помогут создать здоровую и комфортную среду для ваших питомцев.
Уход за клетками для кроликов является важным аспектом их содержания, который напрямую влияет на здоровье и благополучие животных. Правильная санитария клеток помогает предотвратить распространение болезней и создает комфортные условия для жизни кроликов.
Первым шагом в уходе за клетками является регулярная уборка. Рекомендуется проводить ее не реже одного раза в неделю. В процессе уборки необходимо удалить все остатки корма, подстилку и экскременты. Это поможет избежать появления неприятных запахов и предотвратит развитие бактерий и паразитов.
Для уборки клеток можно использовать специальные чистящие средства, однако важно выбирать безопасные для животных составы. Лучше всего использовать натуральные средства, такие как уксус или сода, которые эффективно очищают поверхности и не наносят вреда кроликам.
После удаления загрязнений следует тщательно промыть клетки водой, чтобы удалить остатки чистящих средств. Важно также уделить внимание углам и труднодоступным местам, где могут скапливаться грязь и бактерии.
Кроме регулярной уборки, необходимо следить за состоянием подстилки. Она должна быть сухой и чистой, так как влажная подстилка может стать источником инфекций. Рекомендуется использовать сено, солому или специальные подстилки, которые хорошо впитывают влагу и легко меняются.
Также стоит обратить внимание на вентиляцию клеток. Хорошая циркуляция воздуха помогает предотвратить накопление влаги и неприятных запахов. Если клетки находятся в помещении, необходимо регулярно проветривать его, а если на улице — следить за тем, чтобы в клетках не было сквозняков.
Не забывайте о дезинфекции клеток. Рекомендуется проводить ее не реже одного раза в месяц. Для этого можно использовать растворы на основе хлора или специальные дезинфицирующие средства, предназначенные для животных. После дезинфекции клетки должны хорошо проветриваться, чтобы удалить остатки химических веществ.
В заключение, уход за клетками и их санитария — это неотъемлемая часть содержания кроликов. Регулярная уборка, правильный выбор подстилки, обеспечение вентиляции и дезинфекция помогут создать здоровую и комфортную среду для ваших питомцев.









